

作品包括:
说明书1份,共33页,约12000字左右
CAD版本本图纸,共12张
SW三维图一份
摘 要
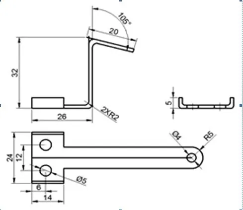
本次设计是支撑板冷冲模的设计,制件为支撑板。本文借鉴了冷冲压模具设计的全部过程。文章主要过程是从产品的工艺分析到最后设计冲压模具,首先,通过对制件的特点的了解,进一步对制件进行工艺分析,确定该制件符合冷冲压加工的要求。冲压工艺方案和结构确定为级进模具冲压,并对级进模进行设计。除对制件进行排样分析和计算搭边值、冲压力、以及确定模具压力中心外还重点分析了制件的凸模、凹模及其凸凹模结构并进行设计、计算,定位零件的选取和结构分析,以及固定方式等技术难点,最终通过AutoCAD进行绘图,得到相关零件的零件图及级进模具的装配图。
关键词:冷冲压;支撑板;级进模具设计
目 录
诚信申明 I
摘要 II
Abstract III
第一章 前言 2
1.1我国模具行业的发展方向和前景 2
1.2 冲压加工的特点 3
1.3 冲压模具的种类 4
1.4课题意义 5
第二章 冲压工艺性分析及冲压方案的确定 6
2.1 冲压工艺性分析 6
2.2 冲压工艺方案的确定 6
第三章 排样设计及计算 9
3.1展开尺寸计算 9
3.2排样方案 9
3.3确定搭边值 9
3.4确定条料宽度计算利用率 15
第四章 冲裁力的计算及确定压力中心 16
4.1冲裁力的计算 16
4.2确定压力中心 17
第五章 冲裁工艺计算 26
5.1选择双面间隙 26
5.2冲裁模刃口尺寸计算原则 26
5.3冲孔和落料刃口尺寸计算 26
第六章 各零件结构尺寸 28
6.1凹模的设计 28
6.2凸模设计 30
6.3 凸模凹模的材料选定 15
6.4 凸模固定垫板的设计 16
6.5 卸料部分的设计 16
6.5.1 卸料装置 17
6.5.2 推件和顶件装置 17
6.5.3 橡胶的选用 17
6.6 定位部分的设计 18
6.7 模架、模座和导柱导套 19
6.7.1 模架类型 19
6.7.2模座 19
6.7.3导柱与导套的选用 21
6.7.4模柄的选用 21
结论 33
参考文献 36
致 谢 35
温馨提示:
1、题目前面的备注【字母数字编号】为本站整理分类的编号,与课题内容无关,请选题时忽视;
2、若题目上备注三维,则表示文件里包含三维源文件,由于三维组成零件数量较多,为保证预览截图的简洁性,本站将三维文件夹进行了打包。三维及CAD预览截图,均为本站电脑打开软件进行截图的,保证能够打开,下载原件超高清,下载后解压即可;
3、本站所有资源如无特殊说明,都需要本地电脑安装Office2007。图纸软件为AutoCAD,PROE,UG,SolidWorks,CATIA等;
4、本站所有图文资料仅供用户学习参考,不作为任何商用或其他用途;
5、本站不保证下载资源的准确性、安全性和完整性, 不包修改,不支持退换,同时也不承担用户因使用这些下载资源对自己和他人造成任何形式的伤害或损失;
6、 下载文件中如有侵权或不适当内容,请与我们联系,我们立即纠正。